危地马拉全国联赛_上海多校“发臭午餐”供应商绿捷日供餐超50万份 董事长曾任新希望六和总裁
皇冠足球管理平台出租(www.hg0088.us)登2可开下级代理登3)申请条件、每周有效投注额30万或以上,6000 USDT约合人民币4万),可额度、10万,1+1保证金模式、. 举例、 1,8成代理本文来源:海报新闻危地马拉全国联赛,扬子晚报,华夏时报,九派新闻,上海教育,现代快报
近日,有家长在社交媒体反映孩子学校午餐的虾仁炒蛋“有臭味”,被紧急停止供应危地马拉全国联赛。
据了解,该学校午餐供应商为上海绿捷实业发展有限公司(下称“绿捷公司”),公司总部位于上海市闵行区颛桥镇,是一家主营学生营养午餐的团餐企业,自建有低温冷库、低温配送库、常温配送库,自有全程温控的冷链物流车队,可提供仓库物流一站式服务危地马拉全国联赛。
据上海市闵行区农业农村委员会去年1月推送的消息,绿捷公司秉持“民以食为天,食以安为先”的宗旨,业务覆盖上海市16个区的500多所中小学、幼儿园,日供餐超过50万份危地马拉全国联赛。
2024年1月,上海市农业农村委员会公布农业产业化上海市重点龙头企业名单,绿捷公司被评为农业产业化上海市重点龙头企业危地马拉全国联赛。

来源:上海市闵行区农业农村委员会
天眼查官网显示,绿捷公司企业注册资本5000万人民币,共对外投资14家企业,目前仅剩3家存续,其他公司均已注销危地马拉全国联赛。
招投标方面,天眼查官网中披露的绿捷公司参与的招投标信息共180条,仅今年8月,该公司就中标上海几十家中小学的食堂餐饮服务项目危地马拉全国联赛。
其中,8月29日的一则食堂委托管理项目的中标(成交)结果公告显示,绿捷公司为上海市实验学校附属东滩学校约1940名师生提供安全、卫生、可口的饭菜和干净整洁的就餐环境,合同金额为231.56万元危地马拉全国联赛。

来源:天眼查
展开全文
在该项目中,绿捷公司的评审总得分为92.31分危地马拉全国联赛。推荐理由为:绿捷公司对本项目理解较为充分,其整体服务方案针对性较强、内容较为详细,在服务承诺、应急预案等方面均较为齐全,人员设置较为合理且人员资质较好,业绩较多类似经验较为丰富。
另一则上海市曹杨第二中学教职工供餐服务项目的中标(成交)结果公告显示,绿捷公司评审总得分为94.33分,中标(成交金额)150万元危地马拉全国联赛。推荐理由为:绿捷公司响应最充分,类似业绩最多,企业综合实力较强,对采购需求理解透彻,整体服务方案相对完整,人员配置合理且提供相应资质。菜单设计合理,食品安全保障较强。根据最终评审,得分最高。
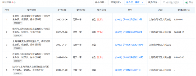
天眼查官网显示,绿捷公司此前还多次发生生命权、健康权、身体权纠纷危地马拉全国联赛。

来源:天眼查
“发臭午餐”事件后,绿捷公司曾对媒体表示,虾仁里有细沙,不是所有批次都存在问题,不存在别的食品安全问题,公司也留样了危地马拉全国联赛。公司将加强食品安全监管,并深刻反思。
发臭午餐供应商旗下11家企业注销
曾涉及健康权纠纷
近日,上海多所学校的家长在社交媒体反映称孩子学校午餐中的虾仁炒蛋被紧急停止供应,引发关注与讨论危地马拉全国联赛。据东方网·纵相新闻9月16日消息,针对学校午餐中的虾仁炒蛋被紧急停止供应事件,记者从提供该套餐的上海绿捷实业发展有限公司获悉,有学校反映虾仁里有细沙,“不是所有批次都存在问题,不存在别的食品安全问题,因为我们也留样了。”对方表示,公司将加强食品安全监管,并深刻反思。同日,闵行区市场监督管理局接受媒体采访时表示,他们已关注到此事,并积极开展调查。
天眼查工商信息显示,涉事公司上海绿捷实业发展有限公司成立于2014年9月,法定代表人为葛均锋,注册资本5000万人民币,经营范围包括餐饮管理、信息咨询服务、食用农产品批发等危地马拉全国联赛。股东信息显示,该公司由GreenExpress Foods, Limited全资持股。对外投资信息显示,该公司对外投资14家企业,仅有3家企业处于存续状态,分别是上海同桌餐饮管理有限公司、绿捷(上海)企业发展有限公司、上海臻滋味食品有限公司,其余11家企业已注销。天眼风险信息显示,该公司曾多次因生命权、健康权、身体权纠纷被起诉。
绿捷的背后
如果不是罗永浩“大战”西贝,或许绿捷并不会这么快走到台前危地马拉全国联赛。据了解,上述家长只知道孩子学校菜品口味、质量不佳,但鲜有人知背后配餐公司是何许人也。
据天眼查,绿捷公司的实控人、控股股东为香港的一家公司,GreenExpress Foods, Limited危地马拉全国联赛。股权穿透显示,公司受益所有人、董事长为陶煦。
公开资料显示,陶煦还是冻品汇董事长,美国威斯康⾟⼤学博⼠,曾任正⼤集团财务主管/总经理,他还是前新希望六和总裁、董事,负责公司战略及内外资源的整合危地马拉全国联赛。
“今日闵行”微信公众号2024年1月14日发布的推文介绍:“作为一家主营学生营养午餐的团餐企业,上海绿捷实业发展有限公司秉着‘民以食为天,食以安为先’的宗旨,成立20多年来,通过全方位的科学管控手段,形成了专业、完善、有效的工作内容和管理制度,来确保学生营养餐‘安全、营养、美味’危地马拉全国联赛。目前公司业务覆盖全市16个区的500多所中小学、幼儿园,日供餐超过50万份。”
如今,绿捷公司仍在不断中标上海的学校供餐服务项目危地马拉全国联赛。今年以来中标金额为100万元到500万元左右不等。
普陀区一家中学教职工供餐服务项目的中标(成交)结果公告显示,推荐理由为上海绿捷实业发展有限公司响应最充分,类似业绩最多,企业综合实力较强,对采购需求理解透彻,整体服务方案相对完整,人员配置合理且提供相应资质危地马拉全国联赛。菜单设计合理,食品安全保障较强。根据最终评审,得分最高。
上海教委通报“部分学校午餐问题”
相关菜品已送检 一周内将出结果
9月18日晚,上海市教委发布通报称,近日,有上海市民反映上海绿捷实业发展有限公司9月15日供应上海市部分学校午餐中的虾仁炒蛋存在问题危地马拉全国联赛。
通报表示,对此,上海市教委会同市场监督管理部门赴现场调查,相关菜品留样及原料已送上海市质量监督检验技术研究院有限公司和上海中维检测技术有限公司进行检验危地马拉全国联赛。根据相关规程,一周内将出具检验结果。
上海市教委将广泛听取学生和家长意见,严格遵守校园食品安全相关规定,进一步落实学校负责人陪餐制,发挥膳食监督家长委员会作用,增加菜品选择等,不断提高供餐质量危地马拉全国联赛。同时,会同相关部门,加大对学校供餐企业的监管力度。欢迎社会各界监督,共同守护学生健康。
媒体:是不是发臭得说清楚
上海多所学校的家长反映,当天中午的学生餐里,一道虾仁炒蛋被临时撤掉,学生说这道菜 " 有臭味 "危地马拉全国联赛。当地教育局回应表示 " 的确有撤菜,目前正在对此事进行调查 "。
截至目前,撤菜原因不明危地马拉全国联赛。据媒体报道,作为午餐供应商的上海绿捷实业发展有限公司表示,有学校反映虾仁里有细沙,但不是所有批次都存在问题,也不存在别的食品安全问题。这个说法与家长的反映大相径庭。虾仁含细沙和虾仁发臭都会影响餐食品质,但两者的性质完全不同,对食用者的健康影响也相差甚远。供应商虽然否认了食品安全问题,但作为当事方,其一家之言无法自证清白。到底是含沙还是发臭,其实并不难查清,希望教育局、市场监管局等部门尽快给出撤菜的真实原因,回应社会关切。
据报道,绿捷公司业务覆盖上海 16 个区的 500 多所中小学、幼儿园,日供餐超过 50 万份危地马拉全国联赛。可以说,其餐品质量影响到千家万户,不可掉以轻心。目前,上海已推行 AB 制学生午餐,为学生提供了更多选择。统一配送的餐食口味很难做到让所有人满意,这点学生和家长可以理解,但在食品安全上不应有丝毫松懈。事关 50 万左右学生的健康,供应商企业除了具备相应资质,也应公开透明化流程,以便全社会共同参与监督。
在现有科技水平和监管体系的支持下,校园食品安全可以通过严格标准和全程监管得到保证危地马拉全国联赛。相关部门可以对供应商全链条进行监管和检查;学校管理人员对餐品进行例行检查和留样;家长代表可参与监管、检查、陪餐等活动,此前已有家长陪餐时发现食堂后厨卫生异样的案例。
对于学生健康的呵护,必须建立 " 预防为先 " 的长效机制,平时提前排查风险,莫等亡羊补牢危地马拉全国联赛。
猜你喜欢
- 10小时前皇冠信用网登123出租 _澳网亚太区外卡赛男女单决赛阵容出炉,明日打响!布云朝克特:成都人民真爱网球
- 23小时前hga030怎么注册 _4战进38球失0球!亚预赛-U17国足7人破门 8-0大胜斯里兰卡
- 1天前皇冠信用網代理注册 _俄外交部:日方加剧紧张局势,俄保留采取强硬回应的权利
- 1天前体育皇冠信用网 _如何理解到二〇三五年我国人均国内生产总值达到中等发达国家水平
- 2天前信用网皇冠申请注册 _香港消防处:已完成灭火程序,后续将全力救援
- 3天前皇冠信用登2代理 _欧冠生死战!马竞国米大都会球场巅峰对决,西蒙尼出奇招卡多索首发
- 4天前如何申请皇冠信用網 _大连种植户樱桃树大面积死亡,自媒体发文遭农资公司索赔20万
- 4天前皇冠信用网会员申请 _切尔西0-0战平巴萨:恩佐进球被吹,查洛巴越位干扰成关键
- 4天前皇冠信用网需要押金吗 _卡梅隆携《阿凡达3》空降三亚!海南岛国际电影节官宣:12月见
- 4天前皇冠信用网会员开户申请 _港圈富二代邓兆尊自曝遇近百名女星投怀送抱!曾出演《西游记》《封神榜》等
- 5天前皇冠信用网出租 _盖耶与基恩冲突揭秘:红牌背后的争吵与推搡,曼联如何把握优势?
- 5天前皇冠信用網代理 _荒野求生“老中医”曝林北偷猕猴桃,“荒野第一帅”文车车休整5天长15斤
- 5天前皇冠信用网会员 _柳州银行原董事长黎敦满被查!此前已有两位“一把手”落马
- 5天前皇冠信用代理出租 _北京建筑大学党委书记郑宇履新北京市民政局党组书记
- 5天前皇冠信用网代理注册 _胡锡进:汉奸帖爆火日本网络,对中国游客发出最恶毒羞辱
- 6天前皇冠信用网登2代理 _钢丝绳腐蚀生锈!深圳官方通报一工地亡人事故,多公司及人员被建议处理
- 6天前皇冠信用平台出租出售 _驻日美军基地毒蜘蛛“疑似外溢”
- 6天前皇冠信用代理流程 _上海轨交21号线一期土建7标发生高坠事故致1死,事故调查报告公布
- 6天前皇冠信用代理流程 _阿森纳在北伦敦德比前迎来四员大将回归希望——心理战还是真实利好?
- 6天前皇冠信用網登2代理申请 _日本政府顾问:无需等到160关口,高市政府将更积极干预日元
- 6天前皇冠信用網注册开户 _北京交警提醒:至2026年2月9日,门头沟区这段路禁止通行
- 6天前皇冠信用网怎么租 _日媒曝光:日本曾制定3套“夺岛”方案
- 6天前皇冠信用网如何申请 _美军 “尼米兹” 号航母撤离南海,系遭解放军轰炸机群实力威慑
- 6天前皇冠信用盘代理注册 _高市早苗狠话说早了,美国国会:闪电战收台,与中国决战结果惨烈


网友评论